НІВЕСТИМ
- 
        США Пфайзер Ейч.Сі.Пі. КорпорейшнDosage form: розчин для ін'єкцій або інфузій по 12 млн ОД (120 мкг)/0,2 мл; по 0,2 мл у попередньо заповненому шприці (І класу) місткістю 1 мл; по 1 попередньо заповненому шприцу у блістері у картонній пачціComposition: 1 попередньо наповнений шприц об’ємом 1 мл містить філграстиму* 12 млн ОД (120 мкг)/0,2 мл;/* (рекомбінантний людський гранулоцитарний колонієстимулюючий фактор (Г-КСФ), вироблений лабораторним штамом бактерії Escherichia coli, у яку методами генної інженерії введено ген Г-КСФ)Medicinal dispensing terms: за рецептомСertificate number: UA/15455/01/01ATS code: L03AA02Expiry: 30 місяців
- 
        США Пфайзер Ейч.Сі.Пі. КорпорейшнDosage form: розчин для ін'єкцій або інфузій по 30 млн ОД (300 мкг)/0,5 мл; по 0,5 мл у попередньо заповненому шприці (І класу) місткістю 1 мл; по 1 або 5 попередньо заповнених шприців у блістері у картонній пачціComposition: 1 попередньо наповнений шприц об’ємом 1 мл містить філграстиму* 30 млн ОД (300 мкг)/ 0,5 мл;/* (рекомбінантний людський гранулоцитарний колонієстимулюючий фактор (Г-КСФ), вироблений лабораторним штамом бактерії Escherichia coli, у яку методами генної інженерії введено ген Г-КСФ)Medicinal dispensing terms: за рецептомСertificate number: UA/15455/01/02ATS code: L03AA02Expiry: 30 місяців
- 
        США Пфайзер Ейч.Сі.Пі. КорпорейшнDosage form: розчин для ін'єкцій або інфузій по 48 млн ОД (480 мкг)/0,5 мл; по 0,5 мл у попередньо заповненому шприці (І класу) місткістю 1 мл; по 1 або 5 попередньо заповнених шприців у блістері у картонній пачціComposition: 1 попередньо наповнений шприц об’ємом 1 мл містить філграстиму* 48 млн ОД (480 мкг)/ 0,5 мл;/* (рекомбінантний людський гранулоцитарний колонієстимулюючий фактор (Г-КСФ), вироблений лабораторним штамом бактерії Escherichia coli, у яку методами генної інженерії введено ген Г-КСФ)Medicinal dispensing terms: за рецептомСertificate number: UA/15455/01/03ATS code: L03AA02Expiry: 30 місяців
- 
        США Пфайзер Ейч.Сі.Пі. КорпорейшнDosage form: розчин для ін'єкцій або інфузій по 12 млн ОД (120 мкг)/0,2 мл; по 0,2 мл у попередньо заповненому шприці (І класу) місткістю 1 мл; по 1 попередньо заповненому шприцу у блістері у картонній пачціComposition: 1 попередньо наповнений шприц об’ємом 1 мл містить філграстиму* 12 млн ОД (120 мкг)/0,2 мл;/* (рекомбінантний людський гранулоцитарний колонієстимулюючий фактор (Г-КСФ), вироблений лабораторним штамом бактерії Escherichia coli, у яку методами генної інженерії введено ген Г-КСФ)Medicinal dispensing terms: за рецептомСertificate number: UA/15455/01/01ATS code: L03AA02Expiry: 30 місяців
- 
        США Пфайзер Ейч.Сі.Пі. КорпорейшнDosage form: розчин для ін'єкцій або інфузій по 30 млн ОД (300 мкг)/0,5 мл; по 0,5 мл у попередньо заповненому шприці (І класу) місткістю 1 мл; по 1 або 5 попередньо заповнених шприців у блістері у картонній пачціComposition: 1 попередньо наповнений шприц об’ємом 1 мл містить філграстиму* 30 млн ОД (300 мкг)/ 0,5 мл;/* (рекомбінантний людський гранулоцитарний колонієстимулюючий фактор (Г-КСФ), вироблений лабораторним штамом бактерії Escherichia coli, у яку методами генної інженерії введено ген Г-КСФ)Medicinal dispensing terms: за рецептомСertificate number: UA/15455/01/02ATS code: L03AA02Expiry: 30 місяців
- 
        США Пфайзер Ейч.Сі.Пі. КорпорейшнDosage form: розчин для ін'єкцій або інфузій по 48 млн ОД (480 мкг)/0,5 мл; по 0,5 мл у попередньо заповненому шприці (І класу) місткістю 1 мл; по 1 або 5 попередньо заповнених шприців у блістері у картонній пачціComposition: 1 попередньо наповнений шприц об’ємом 1 мл містить філграстиму* 48 млн ОД (480 мкг)/ 0,5 мл;/* (рекомбінантний людський гранулоцитарний колонієстимулюючий фактор (Г-КСФ), вироблений лабораторним штамом бактерії Escherichia coli, у яку методами генної інженерії введено ген Г-КСФ)Medicinal dispensing terms: за рецептомСertificate number: UA/15455/01/03ATS code: L03AA02Expiry: 30 місяців
ІНСТРУКЦІЯ
для медичного застосування лікарського засобу
НІВЕСТИМ
(NIVESTIM)
Склад:
діюча речовина: filgrastim;
1 попередньо наповнений шприц об’ємом 1 мл містить філграстиму* 12 млн ОД (120 мкг)/0,2 мл або 30 млн ОД (300 мкг)/ 0,5 мл, або 48 млн ОД (480 мкг)/ 0,5 мл;
* (рекомбінантний людський гранулоцитарний колонієстимулюючий фактор (Г-КСФ), вироблений лабораторним штамом бактерії Escherichia coli, у яку методами генної інженерії введено ген Г-КСФ);
допоміжні речовини: кислота оцтова льодяна, натрію гідроксид, сорбіт (Е 420), полісорбат 80, вода для ін’єкцій.
Лікарська форма. Розчин для ін’єкцій або інфузій.
Основні фізико-хімічні властивості: прозорий безбарвний розчин.
Фармакотерапевтична група.
Імуностимулятори. Колонієстимулюючі фактори. Філграстим. Код АТХ L03А A02.
Фармакологічні властивості.
Фармакодинаміка
Нівестим є біосимілярним лікарським засобом. Людський гранулоцитарний колонієстимулюючий фактор (Г-КСФ) ‒ це глікопротеїн, який регулює утворення і вивільнення функціонально активних нейтрофілів з кісткового мозку. Нівестим, що містить метіоніл рекомбінантний людський гранулоцитарний колонієстимулюючий фактор (r-metHuG-CSF) (філграстим), значно збільшує кількість нейтрофілів у периферичній крові вже в перші 24 години після введення із невеликим збільшенням кількості моноцитів. У деяких пацієнтів з тяжкою хронічною нейтропенією (ТХН) філграстим може спричинити незначне збільшення кількості циркулюючих еозинофілів і базофілів відносно початкового рівня; іноді еозинофілія або базофілія може спостерігатися ще до початку терапії. У діапазоні рекомендованих доз філграстиму спостерігається дозозалежне збільшення кількості нейтрофілів. Нейтрофіли, що утворилися на фоні застосування філграстиму, мають нормальну або підвищену функціональну здатність, що підтверджують тести хемотаксису та фагоцитозу. Через 1‒2 дні після відміни препарату кількість циркулюючих нейтрофілів зазвичай знижується на 50 % і повертається до нормальних показників протягом 1–7 днів.
Застосування філграстиму у пацієнтів, які отримують цитотоксичну хіміотерапію, призводить до суттєвого зниження частоти, тяжкості та тривалості нейтропенії і фебрильної нейтропенії. Філграстим значно скорочує тривалість фебрильної нейтропенії, потребу в антибіотикотерапії та госпіталізації після індукційної хіміотерапії при гострому мієлолейкозі, а також після мієлоаблативної терапії з подальшою трансплантацією кісткового мозку, не впливаючи на частоту гарячки та інфекційних ускладнень і не зменшуючи тривалості гарячкового періоду у пацієнтів після мієлоаблативної терапії з подальшою трансплантацією кісткового мозку.
Застосування філграстиму як самостійно, так і після хіміотерапії мобілізує вихід клітин-попередників гемопоезу у периферичну кров. Збір та трансплантацію таких аутологічних клітин-попередників периферичної крові (КППК) можна проводити після високодозової хіміотерапії, замість або у доповнення до трансплантації кісткового мозку. Трансплантація периферичних клітин-попередників крові прискорює відновлення кровотворення, зменшуючи ризик геморагічних ускладнень і потребу в переливанні тромбоцитарної маси.
У порівнянні з алогенною трансплантацією кісткового мозку, застосування алогенних периферичних клітин-попередників крові, які були мобілізовані за допомогою філграстиму, виявило у реципієнтів значно швидше відновлення гематологічних показників, що суттєво зменшує час відновлення кількості тромбоцитів без замісної терапії тромбоцитарною масою.
Ретроспективне європейське дослідження з оцінки застосування Г-КСФ після алогенної трансплантації кісткового мозку у пацієнтів з гострим лейкозом продемонструвало збільшення ризику реакції «трансплантат проти хазяїна», смерті, пов’язаної з лікуванням, та смерті після введення Г-КСФ. В іншому ретроспективному міжнародному дослідженні за участю пацієнтів з гострим та хронічним мієлолейкозом не спостерігалось впливу препарату на ризик реакції «трансплантат проти хазяїна», смерті, пов’язаної з лікуванням, та загальної смертності хворих. У ході метааналізу досліджень алогенної трансплантації, включаючи результати 9 проспективних рандомізованих досліджень, 8 ретроспективних досліджень та 1 дослідження «випадок-контроль», не виявлено впливу терапії на ризик гострої або хронічної реакції «трансплантат проти хазяїна» або ранньої смерті, пов’язаної з лікуванням.
| Відносний ризик (95 % ДІ) реакції «трансплантат проти хазяїна» або смерті, пов’язаної з лікуванням, після застосування Г-КСФ і трансплантації кісткового мозку | |||||
| Публікація | Період дослідження | № | Гостра реакція «трансплантат проти хазяїна» II–IV ступеня | Хронічна реакція «трансплантат проти хазяїна» | Смерть, пов’язана з лікуванням | 
| Метааналіз (2003) | 1986–2001a | 1198 | 1,08 (0,87, 1,33) | 1,02 (0,82, 1,26) | 0,70 (0,38, 1,31) | 
| Європейське ретроспективне дослідження (2004) | 1992–2002б | 1789 | 1,33 (1,08, 1,64) | 1,29 (1,02, 1,61) | 1,73 (1.30, 2.32) | 
| Міжнародне ретроспективне дослідження (2006) | 1995–2000б | 2110 | 1,11 (0,86, 1,42) | 1,10 (0,86, 1,39) | 1,26 (0,95, 1,67) | 
аАналіз включає дослідження, в яких протягом зазначеного періоду проводилася трансплантація кісткового мозку; у деяких дослідженнях використовувався ГМ-КСФ.
бАналіз включає пацієнтів, яким протягом зазначеного періоду проводилася трансплантація кісткового мозку.
Застосування філграстиму для мобілізації периферичних клітин-попередників крові у здорових донорів перед алогенною трансплантацією периферичних клітин-попередників крові
Призначення здоровим донорам філграстиму по 10 мкг/кг/добу підшкірно щоденно протягом 4–5 днів зазвичай дає змогу при проведенні двох лейкаферезів отримати кількість периферичних клітин попередників крові, яка дорівнює або перевищує 4 × 106 CD34+ клітин/кг маси тіла реципієнта.
Застосування філграстиму у дітей та дорослих з тяжкою хронічною нейтропенією (тяжкою вродженою, періодичною або ідіопатичною) призводить до стійкого зростання абсолютної кількості нейтрофілів у периферичній крові, зменшення частоти інфекцій та інших пов’язаних подій.
Застосування філграстиму у ВІЛ-інфікованих пацієнтів дає змогу підтримувати нормальний рівень нейтрофілів для планового введення противірусних та/або інших мієлосупресивних препаратів. Ознак збільшення реплікації ВІЛ при застосуванні філграстиму пацієнтами з ВІЛ-інфекцією не спостерігалося.
Подібно до інших гемопоетичних факторів росту, Г-КСФ стимулює in vitro проліферацію ендотеліальних клітини людини.
Фармакокінетика
Рандомізоване, відкрите, однодозове, контрольоване препаратом порівняння, перехресне дослідження з двома періодами за участю 46 здорових добровольців показало, що Нівестим та референтний препарат мають схожі профілі фармакокінетики після підшкірного та внутрішньовенного введення. Інше рандомізоване, подвійно сліпе, багатодозове, контрольоване препаратом порівняння, перехресне дослідження за участю 50 здорових добровольців показало, що Нівестим та референтний препарат мають схожі профілі фармакокінетики після підшкірного введення.
Кліренс філграстиму при підшкірному та внутрішньовенному введенні відбувається за правилами фармакокінетики першого порядку. Період напіввиведення філграстиму з сироватки крові становить приблизно 3,5 години, швидкість кліренсу ‒ 0,6 мл/хв/кг. При тривалому застосуванні філграстиму в межах 28 днів після аутологічної трансплантації кісткового мозку не спостерігалося ознак кумуляції препарату або зміни періоду напіввиведення. При внутрішньовенному і підшкірному введенні філграстиму спостерігається позитивна лінійна залежність між дозою та концентрацією препарату в сироватці крові. Після підшкірного введення рекомендованих доз концентрація філграстиму в сироватці крові перевищує 10 нг/мл протягом 8–16 годин. Об’єм розподілу в крові становить близько 150 мл/кг.
Клінічні характеристики.
Показання.
· Зменшення тривалості нейтропенії і частоти виникнення фебрильної нейтропенії у пацієнтів, які отримують інтенсивну хіміотерапію цитотоксичними препаратами з приводу злоякісних новоутворень (за винятком хронічного мієлолейкозу та мієлодиспластичного синдрому).
· Зменшення тривалості нейтропенії у пацієнтів, які отримують мієлоаблативну терапію з наступною трансплантацією кісткового мозку і вважаються схильними до виникнення тривалої тяжкої нейтропенії.
· Мобілізація клітин-попередників периферичної крові.
· Довготривала терапія філграстимом призначається з метою збільшення кількості нейтрофілів та зменшення частоти і тривалості інфекційних ускладнень у дітей і дорослих з тяжкою вродженою, періодичною або ідіопатичною нейтропенією (абсолютна кількість нейтрофілів ≤ 0,5 × 109/л) і гострими або рецидивуючими інфекціями в анамнезі.
· Лікування стійкої нейтропенії (абсолютна кількість нейтрофілів ≤ 1,0 × 109/л) у пацієнтів з прогресуючою ВІЛ-інфекцією з метою зниження ризику бактеріальних інфекцій, коли інші методи лікування нейтропенії недоцільні.
Безпека та ефективність застосування філграстиму подібні у дорослих і дітей, які отримують хіміотерапію цитотоксичними препаратами.
Протипоказання.
Відома гіперчутливість до діючої речовини або будь-якої з допоміжних речовин.
Взаємодія з іншими лікарськими засобами та інші види взаємодій.
Ефективність та безпека застосування філграстиму в один день з мієлосупресивною цитотоксичною хіміотерапією достеменно не встановлені. Враховуючи чутливість мієлоїдних клітин, що швидко діляться, до мієлосупресивної цитотоксичної хіміотерапії, призначати філграстим впродовж 24 годин до та 24 годин після хіміотерапії не рекомендується. Попередні дані, одержані від невеликої кількості пацієнтів, які одночасно отримували філграстим і 5-фторурацил, свідчать про ризик посилення тяжкості нейтропенії.
Можлива взаємодія філграстиму з іншими гематопоетичними факторами росту та цитокінами не вивчалася у клінічних дослідженнях.
Оскільки літій стимулює вивільнення нейтрофілів, можливе посилення дії філграстиму, але дослідження такої взаємодії не проводилися, тому висновки про можливу небезпеку комбінованого застосування цих препаратів відсутні.
Особливості застосування.
Відстежування
Щоб поліпшити відстежування біологічних лікарських засобів слід обов’язково чітко зазначати у картці пацієнта назву та номер серії введеного препарату.
Особливості застосування при різних показаннях
Реакція гіперчутливості
У пацієнтів, які отримували філграстим, на початку або в процесі лікування спостерігалися реакції гіперчутливості, включаючи анафілактичні реакції. У разі виникнення клінічно значущих реакцій гіперчутливості слід повністю припинити застосування філграстиму. Препарат не можна призначати пацієнтам з реакціями підвищеної чутливості до філграстиму або пегфілграстиму в анамнезі.
Небажані побічні ефекти з боку дихальної системи
Після введення Г-КСФ зареєстровано побічні ефекти з боку дихальної системи, зокрема інтерстиціальне захворювання легень. Для пацієнтів з інфільтратом у легенях або пневмонією в нещодавньому анамнезі ризик є вищим. Поява симптомів захворювань органів дихання, таких як кашель, лихоманка та задишка, в поєднанні з рентгенологічними ознаками інфільтратів у легенях і погіршення функції легень може бути попередньою ознакою гострого респіраторного дистрес-синдрому (ГРДС). У такому разі слід припинити застосування філграстиму та призначити відповідне лікування.
Гломерулонефрит
Випадки виникнення гломерулонефриту зафіксовано в пацієнтів, яким застосували філграстим і пегфілграстим. Ознаки гломерулонефриту зазвичай минали після зменшення дози або припинення застосування філграстиму та пегфілграстиму. У таких пацієнтів рекомендовано контролювати показники аналізу сечі.
Синдром підвищеної проникності капілярів
Повідомлялося про випадки синдрому підвищеної проникності капілярів після застосування Г-КСФ, які характеризувалися артеріальною гіпотензією, гіпоальбумінемією, набряками та згущенням крові. Цей синдром може загрожувати життю, якщо вчасно не розпочати його лікування.
Стан пацієнтів із синдромом підвищеної проникності капілярів слід ретельно відстежувати та призначати стандартну симптоматичну терапію, що може включати інтенсивну терапію (див. розділ «Побічні реакції»).
Спленомегалія та розрив селезінки
Як правило, асимптоматичні випадки спленомегалії та випадки розриву селезінки фіксували в пацієнтів і здорових донорів після застосування філграстиму. Деякі випадки розриву селезінки були смертельними. Тому слід ретельно контролювати розміри селезінки (за допомогою клінічного або ультразвукового обстеження). Донорів або пацієнтів, які скаржаться на біль у верхній лівій частині живота чи лівому плечі, слід обстежити щодо розриву селезінки. Зменшення дози філграстиму уповільнювало або припиняло подальше збільшення селезінки в пацієнтів із тяжкою хронічною нейтропенією, а 3 % пацієнтів потребували спленектомії.
Ріст злоякісних клітин
Г-КСФ може спричиняти ріст мієлоїдних клітин in vitro, аналогічні ефекти можливі і для деяких немієлоїдних клітин in vitro.
Мієлодиспластичний синдром або хронічний мієлолейкоз
Безпека та ефективність застосування філграстиму для пацієнтів з мієлодиспластичним синдромом або хронічним мієлолейкозом не встановлені, тому філграстим не показаний для використання за таких обставин. З особливою увагою слід проводити диференційну діагностику гострого мієлолейкозу і бластної трансформації хронічного мієлолейкозу.
Гострий мієлолейкоз
Зважаючи, що дані з безпеки та ефективності застосування філграстиму пацієнтам із вторинним гострим мієлоцитарним лейкозом обмежені, препарат слід призначати з обережністю.
Безпеку та ефективність застосування філграстиму пацієнтам віком до 55 років із вперше виявленим гострим мієлоцитарним лейкозом та сприятливими цитогенетичними факторами [t(8;21), t(15;17), та inv(16)] не встановлено.
Тромбоцитопенія
У пацієнтів, які отримують філграстим, зареєстровано випадки тромбоцитопенії. Слід ретельно контролювати кількість тромбоцитів, особливо впродовж перших декількох тижнів терапії філграстимом. Пацієнтам із тяжкою хронічною нейтропенією у разі розвитку тромбоцитопенії, тобто стійкого зменшення кількості тромбоцитів до рівня < 100 × 109/л, подальшу терапію із застосуванням філграстиму слід тимчасово припинити або знизити його дозу.
Лейкоцитоз
У менше ніж 5 % пацієнтів з онкологічними захворюваннями, які отримували добову дозу філграстиму вище 0,3 млн ОД/кг (3 мкг/кг/добу), кількість лейкоцитів становила 100 × 109/л або більше. Немає відомостей щодо будь-яких побічних реакцій, безпосередньо обумовлених розвитком лейкоцитозу такого ступеня тяжкості. Однак, враховуючи можливий ризик, пов’язаний із тяжким лейкоцитозом, під час лікування філграстимом необхідно регулярно контролювати кількість лейкоцитів. Якщо кількість лейкоцитів перевищує 50 × 109/л після досягнення очікуваного мінімального рівня, терапію препаратом слід негайно припинити. Під час застосування філграстиму для мобілізації клітин-попередників периферичної крові (КППК), якщо кількість лейкоцитів збільшується до > 70 × 109/л, необхідно зменшити дозу або припинити лікування препаратом.
Імуногенність
Усі терапевтичні білки мають потенціал до імуногенності. Однак ризик вироблення антитіл до філграстиму є низьким. Зв’язування антитіл відбувається очікувано, як і в разі застосування інших біологічних препаратів. Проте на сьогодні їхню нейтралізуючу дію не доведено.
Аортит
Повідомлялося про випадки виникнення аортиту після застосування Г-КСФ в здорових донорів і пацієнтів з онкологічними захворюваннями. Симптоми включали підвищення температури тіла, біль у животі, нездужання, біль у спині та підвищення рівня маркерів запалення (наприклад, С-реактивний білок і кількість лейкоцитів). У більшості випадків аортит діагностували КТ-скануванням і зазвичай він зникав після відміни Г-КСФ (див. розділ «Побічні реакції»).
Особливі попередження та застереження, пов’язані з супутніми захворюваннями
Особливі заходи безпеки для пацієнтів із серпоподібноклітинною аномалією еритроцитів та серпоподібноклітинною анемією
У пацієнтів із серпоподібноклітинною аномалією еритроцитів або серпоподібноклітинною анемією на фоні застосування філграстиму спостерігалися випадки серпоподібноклітинного кризу, у деяких випадках смертельні. Тому хворим із серпоподібноклітинною аномалією еритроцитів або серпоподібноклітинною анемією філграстим слід призначати з обережністю.
Остеопороз
Пацієнтам із супутнім остеопорозом, які отримують безперервну терапію філграстимом протягом більше ніж 6 місяців, показано контроль мінеральної щільності кісткової тканини.
Особливі заходи безпеки для пацієнтів з онкологічними захворюваннями
Філграстим не слід використовувати для підвищення дози цитотоксичної хіміотерапії за межі прийнятої схеми лікування.
Ризики, пов’язані з підвищенням дози хіміотерапії
З особливою обережністю слід застосовувати препарат пацієнтам, які отримують високодозову хіміотерапію, оскільки у таких випадках результативність лікування пухлин не встановлена, а високі дози хіміотерапевтичних препаратів можуть спричинити більш виражену токсичність із розвитком серцевих, легеневих, неврологічних і дерматологічних реакцій (див. інструкцію для медичного застосування відповідного хіміотерапевтичного препарату).
Вплив хіміотерапії на еритроцити та тромбоцити
Монотерапія філграстимом не запобігає розвитку тромбоцитопенії і анемії, обумовлених мієлосупресивною хіміотерапією. При застосуванні більш високих доз хіміотерапевтичних препаратів (наприклад повних доз відповідно до призначених схем) виникає великий ризик розвитку тромбоцитопенії і анемії. У таких випадках рекомендується регулярно контролювати такі показники клінічного аналізу крові, як кількість тромбоцитів і гематокрит. Слід дотримуватися особливої обережності при застосуванні однокомпонентних або комбінованих хіміотерапевтичних препаратів, які можуть викликати тяжку тромбоцитопенію.
Застосування клітин-попередників периферичної крові, мобілізованих за допомогою філграстиму, дає змогу зменшити тяжкість і тривалість тромбоцитопенії, після мієлосупресивної або мієлоаблативної хіміотерапії.
Мієлодиспластичний синдром та гострий мієлоїдний лейкоз у хворих на рак молочної залози та легенів
У післяреєстраційному спостережувальному дослідженні мієлодиспластичний синдром (МДС) та гострий мієлоїдний лейкоз (ГМЛ) були пов’язані із застосуванням пегфілграстиму, альтернативного препарату гранулоцитарного колонієстимулюючого фактора (Г-КСФ), у поєднанні з хіміотерапією та/або променевою терапією у пацієнтів з раком молочної залози та легенів. Аналогічний зв’язок між застосуванням філграстиму та МДС/ГМЛ не спостерігався. Проте у пацієнтів з раком молочної залози та пацієнтів з раком легенів слід контролювати наявність ознак та симптомів МДС/ГМЛ.
Інші спеціальні застереження
Дія філграстиму у пацієнтів із суттєво зниженою кількістю мієлоїдних клітин-попередників не вивчалася. Філграстим підвищує кількість нейтрофілів шляхом впливу, перш за все, на клітини-попередники нейтрофілів. Тому у пацієнтів зі зниженою кількістю клітин-попередників нейтрофілів (наприклад, у результаті інтенсивної променевої терапії або хіміотерапії або внаслідок інфільтрації кісткового мозку пухлинними клітинами) може бути зменшена відповідь на застосування препарату.
У пацієнтів, які перенесли високодозову хіміотерапію з подальшою трансплантацією, відзначалися поодинокі випадки судинних захворювань, включаючи венооклюзивну хворобу та порушення водного обміну.
Повідомлялося про розвиток реакції «трансплантат проти хазяїна» з летальним наслідком у хворих, які отримували Г-КСФ після алогенної трансплантації кісткового мозку (див. розділ «Побічні реакції» і «Фармакодинаміка»).
Посилення гемопоезу в кістковому мозку у відповідь на терапію факторами росту призводило до появи минущих патологічних змін, що виявляються при остеосцинтиграфії. Це слід враховувати при інтерпретації зображень результатів сканування кісток.
Особливі заходи безпеки для пацієнтів, яким проводиться мобілізація клітин-попередників периферичної крові
Мобілізація
Проспективні рандомізовані порівняльні дослідження двох рекомендованих методів мобілізації (лише філграстим або філграстим у комбінації з мієлосупресивною хіміотерапією) за участю однакових груп пацієнтів не проводилися. Індивідуальні особливості пацієнтів у різних дослідженнях та ступінь розходження результатів лабораторного визначення кількості CD34+ клітин ускладнюють пряме порівняння даних цих досліджень. Тому рекомендувати оптимальний метод досить складно. Вибір методу мобілізації має залежати від загальних цілей лікування у кожному індивідуальному випадку.
Застосування цитотоксичних препаратів в анамнезі
У пацієнтів, яким раніше проводили високоінтенсивну мієлосупресивну хіміотерапію, може спостерігатися недостатня мобілізація клітин-попередників периферичної крові для досягнення мінімального рекомендованого рівня клітин (≥ 2,0 × 106 CD34+ клітин/кг) або знижена швидкість відновлення кількості тромбоцитів.
Деякі цитотоксичні препарати мають підвищений токсичний вплив на клітини-попередники гемопоезу і можуть негативно впливати на їхню мобілізацію. Тривале застосування таких препаратів, як мелфалан, кармустин та карбоплатин, до початку запланованої мобілізації клітин-попередників може зменшувати результативність процедури. Однак застосування мелфалану, карбоплатину або кармустину разом з філграстимом сприяє мобілізації клітин-попередників крові. У разі потреби трансплантації клітин-попередників периферичної крові мобілізацію стовбурових клітин рекомендується запланувати на початку курсу лікування пацієнта. Перед початком високодозової терапії слід звертати особливу увагу на кількість мобілізованих клітин-попередників. Якщо результати мобілізації не відповідають вищезазначеним критеріям, необхідно розглянути альтернативні варіанти лікування, які не вимагають застосування клітин-попередників.
Оцінка кількості мобілізованих клітин-попередників
Під час оцінки кількості мобілізованих клітин-попередників у пацієнтів, які отримували філграстим, особливу увагу слід приділяти методу кількісного визначення. Результати проточного цитометричного аналізу кількості CD34+ клітин відрізняються залежно від застосованої методології визначення, отже, слід з обережністю інтерпретувати результати кількості клітин, які ґрунтуються на дослідженнях, проведених в інших лабораторіях.
Результати статистичного аналізу взаємозв’язку кількості введених CD34+ клітин та швидкості нормалізації кількості тромбоцитів після високодозової хіміотерапії свідчать про складну, але постійну залежність.
Рекомендація щодо мінімальної кількості мобілізованих клітин на рівні ≥ 2,0 × 106 CD34+ клітин/кг ґрунтується на опублікованих даних про досвід належного відновлення гематологічних показників. Якщо кількість клітин перевищує мінімальний рівень, спостерігається швидша нормалізація; при рівні, меншому за рекомендований, відновлення протікає повільніше.
Особливі заходи безпеки для здорових донорів, яким проводиться мобілізація клітин-попередників периферичної крові
Мобілізація клітин-попередників периферичної крові не забезпечує прямої клінічної користі для здорових донорів і повинна розглядатись лише як алогенна трансплантація стовбурових клітин.
Донори, яким проводять мобілізацію клітин-попередників периферичної крові, повинні відповідати стандартним вимогам за клінічними показниками та лабораторними критеріями, що висуваються для донорів стовбурових клітин. Особливу увагу слід приділяти гематологічним показникам та наявності інфекційних захворювань.
Безпеку та ефективність застосування філграстиму здоровим донорам віком до 16 років та від 60 років не оцінювали.
Транзиторна тромбоцитопенія (тромбоцити < 100 × 109/л) після введення філграстиму та лейкаферезу була зафіксована у 35 % досліджуваних пацієнтів. При цьому було два випадки зниження тромбоцитів до рівня 50 × 109/л, що пов’язували з проведенням процедури лейкаферезу.
У разі необхідності проведення більше однієї процедури лейкаферезу особливу увагу слід приділяти донорам, кількість тромбоцитів у яких до початку лейкаферезу становить < 100 × 109/л. Загалом, якщо кількість тромбоцитів становить < 75 × 109/л, проведення лейкаферезу не рекомендується при призначенні антикоагулянтів та діагностованих порушеннях гемостазу.
Стан донорів, які отримують Г-КСФ для мобілізації клітин-попередників периферичної крові, слід відстежувати до нормалізації гематологічних показників.
Особливі заходи безпеки для реципієнтів алогенних клітин-попередників периферичної крові, мобілізованих за допомогою філграстиму
Поточні дані свідчать, що імунологічній взаємодії алогенних клітин-попередників периферичної крові з організмом реципієнта властивий більший ступінь розвитку гострої та хронічної реакції «трансплантат проти хазяїна» порівняно з трансплантацією кісткового мозку.
Особливі заходи безпеки для пацієнтів з тяжкою хронічною нейтропенією
Філграстим не слід застосовувати пацієнтам із тяжкою формою вродженої нейтропенії, які мають лейкоз або ознаки розвитку лейкозу.
Кількість клітин крові
Можливі інші зміни кількості клітин крові, включаючи анемію і тимчасове підвищення кількості мієлоїдних клітин-попередників, які вимагають її ретельного контролю.
Трансформація в лейкоз або мієлодиспластичний синдром
Особлива увага необхідна при діагностиці тяжкої хронічної нейтропенії, щоб відрізнити цей стан від інших гематологічних порушень, таких як апластична анемія, мієлодисплазія та мієлолейкоз. Перед початком лікування необхідно провести розгорнутий аналіз крові з визначенням лейкоцитарної формули та підрахунком кількості тромбоцитів, а також оцінити морфологічну картину кісткового мозку і каріотип.
У пацієнтів з тяжкою хронічною нейтропенією, які брали участь у клінічних дослідженнях результатів застосування філграстиму, спостерігалася низька частота виникнення мієлодиспластичного синдрому чи лейкозу (приблизно 3 %). Ці розлади спостерігалися лише у пацієнтів із вродженою нейтропенією. Мієлодиспластичний синдром та лейкоз є звичайними ускладненнями цього захворювання і не мають доведеного зв’язку із застосуванням філграстиму. Приблизно у 12 % пацієнтів без цитогенетичних порушень до початку терапії за результатами подальших аналізів спостерігалися відхилення, включаючи моносомію 7. На сьогодні невідомо, чи підвищує довготривала терапія із застосуванням філграстиму у пацієнтів з тяжкою хронічною нейтропенією ризик цитогенетичних порушень, мієлодиспластичного синдрому або трансформації хвороби у лейкоз. Таким пацієнтам рекомендується регулярно (приблизно кожні 12 місяців) проводити морфологічне та цитогенетичне обстеження кісткового мозку.
Інші спеціальні застереження
Слід виключити інші причини виникнення тимчасової нейтропенії, наприклад вірусні інфекції.
У незначної кількості пацієнтів зафіксовано випадки гематурії або протеїнурії. Для контролю цих явищ слід регулярно проводити аналіз сечі.
Безпека та ефективність застосування препарату новонародженим та пацієнтам з аутоімунною нейтропенією не встановлені.
Особливі заходи безпеки для ВІЛ-інфікованих пацієнтів
Кількість клітин крові
Рекомендується ретельно контролювати абсолютну кількість нейтрофілів, особливо впродовж перших декількох тижнів терапії філграстимом. У деяких пацієнтів можлива дуже швидка відповідь на початкову дозу філграстиму із суттєвим збільшенням кількості нейтрофілів. Протягом перших 2‒3 днів застосування філграстиму абсолютну кількість нейтрофілів рекомендується контролювати щоденно. Надалі впродовж перших двох тижнів абсолютну кількість нейтрофілів слід визначати щонайменше 2 рази на тиждень, потім ‒ 1 раз на тиждень чи 1 раз на 2 тижні під час підтримуючої терапії. Під час переривчастого введення дози філграстиму 30 млн ОД (300 мкг)/добу у пацієнтів можливі значні коливання показників абсолютної кількості нейтрофілів через деякий час. Зразки крові для визначення мінімального рівня абсолютної кількості нейтрофілів рекомендується відбирати безпосередньо перед введенням запланованої дози філграстиму.
Ризики, пов’язані із застосуванням високих доз мієлосупресивних препаратів
Монотерапія філграстимом не запобігає розвитку тромбоцитопенії і анемії, обумовлених мієлосупресивною хіміотерапією. Внаслідок отримання хіміопрепаратів у більших дозах або застосування більшої кількості таких препаратів у комбінації з філграстимом ризик розвитку тромбоцитопенії та анемії у пацієнта може зростати. Рекомендується регулярно контролювати показники аналізу крові (див. вище).
Інфекції та злоякісні новоутворення, що спричиняють мієлосупресію
Нейтропенія може виникати внаслідок інфільтрації кісткового мозку збудниками опортуністичних інфекцій, таких як, наприклад, бактерії групи Mycobacterium avium, або внаслідок злоякісних новоутворювань, таких як лімфома. У разі діагностування пацієнтам інфекційних захворювань або злоякісних новоутворень, що уражають кістковий мозок, на додаток до філграстиму для лікування нейтропенії слід призначити відповідну терапію діагностованих захворювань. Ефективність застосування філграстиму для лікуванні нейтропенії, обумовленої інфекціями, що уражають кістковий мозок, або злоякісними новоутвореннями, не встановлена.
Всі пацієнти
Кожен попередньо наповнений шприц оснащено голкою з ковпачком, який містить епоксипрен — похідну речовину натурального латексу, що може торкатися голки. Нівестим містить сорбіт (Е 420). Препарат не слід призначати пацієнтам зі спадковою непереносимістю фруктози (СНФ), якщо це не є критичною необхідністю.
Дітям віком до 2 років ще може бути не встановлено діагноз СНФ. Введення внутрішньовенно лікарських засобів, які містять сорбітол/фруктозу, може бути загрозливим для життя, тому їх застосування протипоказано цій популяції, за винятком випадків клінічної необхідності та відсутності альтернатив.
Перед застосуванням цього лікарського засобу слід брати до уваги симптоми СНФ в анамнезі пацієнта.
Цей лікарський засіб містить менше ніж 1 ммоль натрію (23 мг) на 0,6 мг/мл або 0,96 мг/мл дози та вважається практично безнатрієвим препаратом.
Застосування у період вагітності або годування груддю.
Вагітність. Дані щодо застосування філграстиму вагітним жінкам обмежені або зовсім відсутні. Дослідження на тваринах продемонстрували репродуктивну токсичність препарату. Існують повідомлення, що філграстим здатний проникати через плацентарний бар’єр. Філграстим не рекомендується застосовувати під час вагітності.
Годування груддю. Невідомо, чи проникає філграстим або його метаболіти у грудне молоко. Ризики для новонароджених та грудних дітей виключити не можна. Рішення про припинення годування груддю або переривання/припинення терапії філграстимом слід приймати з урахуванням користі годування груддю для дитини та користі лікування для жінки.
Здатність впливати на швидкість реакції при керуванні автотранспортом або іншими механізмами.
Філграстим може мати незначний вплив на швидкість реакції під час керування автотранспортом або іншими механізмами. Після введення філграстиму може виникнути запаморочення (див. розділ «Побічні реакції»).
Спосіб застосування та дози.
Терапію філграстимом необхідно проводити лише у спеціальних лікувальних закладах із необхідним діагностичним обладнанням лікарями із достатнім досвідом роботи у гематології, застосуванні Г-КСФ. Процедури мобілізації та аферезу клітин необхідно проводити у спеціальних лікувальних закладах, спеціалістами з достатнім досвідом роботи у цій галузі та з можливістю належного моніторингу клітин-попередників гемопоезу.
Нівестим у разі інфузійного введення розводять 5 % розчином глюкози (50 мг/мл) для інфузій.
Не рекомендується розводити до концентрації менше 0,2 млн ОД (2 мкг)/ мл.
Перед застосуванням розчин препарату слід візуально оглянути. Допускається використання лише прозорого розчину, що не містить часток.
Якщо для лікування пацієнтів Нівестим розводиться до концентрації менше 1,5 млн ОД (15 мкг)/мл, до розчину слід додати людський сироватковий альбумін в такій кількості, щоб кінцева концентрація становила 2 мг/мл. Наприклад, при розведенні загальної дози філграстиму менше 30 млн ОД (300 мкг) до остаточного об’єму розчину 20 мл слід додати 0,2 мл 20 % розчину людського альбуміну.
Нівестим не містить консервантів. Тому через можливий ризик мікробної контамінації шприци Нівестиму призначені виключно для одноразового використання. Після використання шприц із залишком розчину утилізують.
При розведенні 5 % розчином глюкози (50 мг/мл) для інфузій філграстим є сумісним зі склом та різноманітним пластиком, включаючи полівінілхлорид, поліолефін (кополімер поліпропілену та поліетилену) та поліпропілен.
Хімічна та фізична стабільність розведеного розчину для інфузій становить 24 години при температурі 2‒8 °C. З мікробіологічної точки зору розчин слід використати негайно. Якщо препарат не був введений одразу після розведення, час та умови зберігання розведеного розчину є відповідальністю медичного працівника та зазвичай становлять не більше 24 годин при температурі 2‒8 °C, якщо тільки розведення не було виконано у контрольованих та валідованих асептичних умовах.
Інтенсивна хіміотерапія цитотоксичними препаратами
Рекомендована добова доза філграстиму становить 0,5 млн ОД (5 мкг)/кг маси тіла/добу. Першу дозу препарату слід вводити не раніше ніж через 24 години після курсу цитотоксичної хіміотерапії. У рандомізованих клінічних дослідженнях використовували дозу 230 мкг/м2/добу (4,0–8,4 мкг/кг маси тіла/добу) із підшкірним введенням.
Філграстим застосовують щоденно, доки кількість нейтрофілів не перевищить очікуваний мінімум та не відновиться до нормальних значень. Після інтенсивної хіміотерапії солідних пухлин, лімфом і лімфолейкозу тривалість лікування до досягнення зазначених критеріїв перебуває в межах 14 днів. Після індукційної і консолідаційної терапії гострого мієлоїдного лейкозу тривалість лікування може значно збільшуватися (до 38 днів) залежно від виду, дози та схеми призначеної цитотоксичної хіміотерапії.
У пацієнтів, які отримують цитотоксичну хіміотерапію, через 1–2 доби після початку застосування філграстиму зазвичай спостерігається транзиторне збільшення кількості нейтрофілів. Однак для досягнення стійкої терапевтичної відповіді необхідно продовжувати терапію, доки кількість нейтрофілів не перевищить очікуваний мінімум та не відновиться до нормальних значень. Не рекомендується передчасно припиняти застосування філграстиму, доки кількість нейтрофілів не перевищить очікуваний мінімум.
Спосіб застосування
Філграстим застосовують щоденно у вигляді підшкірних ін’єкцій або внутрішньовенних інфузій разом із 5 % розчином глюкози для інфузій (50 мг/мл) протягом 30 хвилин (процедура розведення описана вище). У більшості випадків рекомендується надавати перевагу підшкірному способу введення. Дослідження застосування разової дози філграстиму показало, що при внутрішньовенному введенні можливе скорочення тривалості дії препарату. Клінічна значущість цих даних для багаторазового введення препарату невідома. Спосіб введення слід обирати залежно від особливостей кожного клінічного випадку.
Пацієнти, які отримують мієлоаблативну терапію з подальшою трансплантацією кісткового мозку
Дози
Рекомендована початкова доза філграстиму становить 1,0 млн ОД (10 мкг)/кг/добу. Першу дозу філграстиму слід вводити не раніше ніж через 24 години після проведення цитотоксичної хіміотерапії та не раніше ніж через 24 години після трансплантації кісткового мозку.
Після досягнення мінімального рівня нейтрофілів добову дозу філграстиму слід коригувати залежно від реакції нейтрофілів:
| Кількість нейтрофілів | Коригування дози філграстиму | |
| > 1,0 × 109/л протягом 3 днів поспіль | Зменшити до 0,5 млн ОД (5 мкг)/кг/добу | |
| Якщо абсолютна кількість нейтрофілів зберігається на рівні > 1,0 × 109/л протягом 3 днів поспіль | Припинити застосування філграстиму | |
| Якщо під час лікування абсолютна кількість нейтрофілів знижується до < 1,0 × 109/л, дозу препарату знову збільшують згідно з вищенаведеною схемою. | ||
Спосіб застосування
Філграстим можна вводити у вигляді 30-хвилинної або 24-годинної внутрішньовенної інфузії, а також безперервної 24-годинної підшкірної інфузії. Філграстим необхідно розводити у 20 мл 5 % розчину глюкози для інфузій (50 мг/мл).
Мобілізація клітин-попередників периферичної крові (КППК) у пацієнтів, які отримують мієлосупресивну або мієлоаблативну терапію з подальшою аутологічною трансплантацією периферичних клітин-попередників крові
Дози
Рекомендована доза філграстиму для мобілізації клітин-попередників периферичної крові при застосуванні як монотерапії становить 1,0 млн ОД (10 мкг)/кг/добу протягом 5‒7 днів поспіль. Зазвичай достатньо одного або двох сеансів лейкаферезу на 5-й та 6-й день лікування. В деяких випадках проводять додаткові сеанси лейкаферезу. Не слід змінювати дозу препарату до завершення останнього сеансу лейкаферезу.
Рекомендована доза філграстиму для мобілізації клітин-попередників периферичної крові після мієлосупресивної хіміотерапії становить 0,5 млн ОД (5 мкг)/кг/добу, яку застосовують з першого дня після завершення курсу хіміотерапії і доти, доки кількість нейтрофілів не перевищить очікуваний мінімум та не відновиться до нормальних значень. Лейкаферез виконують у період, коли абсолютна кількість нейтрофілів зростає від < 0,5 × 109/л до > 5,0 × 109/л. Пацієнтам, які не отримували інтенсивної хіміотерапії, зазвичай достатньо одного сеансу лейкаферезу. В інших випадках проводять додаткові сеанси лейкаферезу.
Спосіб застосування
Застосування філграстиму як монотерапії для мобілізації клітин-попередників периферичної крові: філграстим можна вводити у вигляді 24-годинної підшкірної безперервної інфузії або підшкірної ін’єкції. Для інфузії препарат необхідно розводити у 20 мл 5 % розчину глюкози для інфузій (50 мг/мл).
Застосування філграстиму для мобілізації клітин-попередників периферичної крові після мієлосупресивної хіміотерапії: філграстим вводять у вигляді підшкірної ін’єкції.
Мобілізація клітин-попередників периферичної крові у здорових донорів перед алогенною трансплантацією клітин-попередників периферичної крові.
Дози
Для мобілізації клітин-попередників периферичної крові у здорових донорів філграстим застосовують у дозі 1,0 млн ОД (10 мкг)/кг/добу протягом 4‒5 днів поспіль. Щоб зібрати 4 × 106 CD34+ клітин/кг маси тіла реципієнта, лейкаферез починають на 5-й день терапії і, якщо потрібно, продовжують до 6-го дня.
Спосіб застосування
Філграстим вводять у вигляді підшкірної ін’єкції.
Довготривала терапія для збільшення кількості нейтрофілів та зменшення частоти і тривалості інфекційних ускладнень у дітей та дорослих з тяжкою хронічною нейтропенією ‒ вродженою, періодичною або ідіопатичною
Дози
Вроджена нейтропенія: рекомендована початкова доза становить 1,2 млн ОД (12 мкг)/кг/добу у вигляді разової дози або розділених доз.
Ідіопатична або періодична нейтропенія: рекомендована початкова доза становить 0,5 млн ОД (5 мкг)/кг/добу у вигляді разової дози або розділених доз.
Коригування дози: філграстим вводять щоденно у вигляді підшкірної ін’єкції до досягнення і стабільного перевищення кількості нейтрофілів 1,5 × 109/л. Після отримання відповіді визначають мінімальну ефективну дозу препарату для підтримання досягнутого рівня. Для підтримання належної кількості нейтрофілів рекомендується довгострокове щоденне застосування препарату. Через 1–2 тижні лікування початкову дозу можна подвоїти або зменшити вдвічі залежно від ефективності терапії. Надалі кожні 1–2 тижні можна проводити індивідуальну корекцію дози для підтримання середньої кількості нейтрофілів у діапазоні від 1,5 × 109/л до 10 × 109/л. Для пацієнтів з тяжкими інфекціями можна застосовувати пришвидшену схему підвищення дози. У клінічних дослідженнях 97 % пацієнтів демонстрували повну відповідь при застосуванні доз ≤ 24 мкг/кг/добу. Безпека довготривалого застосування доз філграстиму вище 24 мкг/кг/добу для пацієнтів з тяжкою хронічною нейтропенією не встановлена.
Спосіб застосування
Вроджена, ідіопатична або періодична нейтропенія: філграстим вводять у вигляді підшкірної ін’єкції.
Пацієнти з ВІЛ-інфекцією
Дози
Відновлення кількості нейтрофілів
Рекомендована початкова доза філграстиму становить 0,1 млн ОД (1 мкг)/кг/добу зі збільшенням до максимум 0,4 млн ОД (4 мкг)/кг/добу, терапію проводять до досягнення і підтримання нормальної кількості нейтрофілів (абсолютна кількість нейтрофілів > 2,0 × 109/л). В клінічних дослідженнях при застосуванні таких доз терапевтичну відповідь отримували більше 90 % пацієнтів, які досягали відновлення кількості нейтрофілів в середньому за 2 доби.
Незначна кількості пацієнтів (менше 10 %) для відновлення кількості нейтрофілів потребувала дозу в межах до 1,0 млн ОД (10 мкг)/кг/добу.
Підтримання нормальної кількості нейтрофілів
Після відновлення кількості нейтрофілів визначають мінімальну ефективну дозу препарату для підтримання нормальної кількості нейтрофілів. Рекомендована початкова доза становить 30 млн ОД (300 мкг)/добу через день. Для підтримання кількості нейтрофілів на рівні > 2,0 × 109/л надалі може бути потрібна індивідуальна корекція дози відповідно до показника абсолютної кількості нейтрофілів пацієнта. В клінічних дослідженнях доза 30 млн ОД (300 мкг) на добу від 1 до 7 днів на тиждень була достатньою для підтримання абсолютної кількості нейтрофілів в діапазоні > 2,0 × 109/л з середньою частотою введення 3 рази на тиждень. Для підтримання абсолютної кількості нейтрофілів на рівні > 2,0 × 109/л може бути потрібне довготривале застосування препарату.
Спосіб застосування
Для відновлення кількості нейтрофілів та підтримання їхньої нормальної кількості філграстим вводять у вигляді підшкірної ін’єкції.
Пацієнти літнього віку
Клінічні дослідження філграстиму включали невелику кількість пацієнтів літнього віку. Спеціальні дослідження препарату у цій групі хворих не проводилися, тому спеціальні рекомендації з дозування філграстиму відсутні.
Ниркова або печінкова недостатність
Дослідження застосування філграстиму пацієнтам з тяжкою недостатністю функції нирок або печінки показали, що профіль фармакокінетики та фармакодинаміки препарату у таких хворих відповідає показникам у пацієнтів, які не мають подібних розладів. Таким чином, ця група хворих не потребує коригування дози препарату.
Інформація про самостійне застосування препарату пацієнтом
Цей розділ містить інформацію про те, як зробити собі ін’єкцію препарату Нівестим. Важливо, щоб ви не намагалися робити ін’єкцію самостійно, якщо ви не пройшли спеціальну підготовку у свого лікаря або медсестри. Також важливо, щоб ви утилізували шприц у контейнер для утилізації гострих предметів (захищений від проколів). Якщо ви не впевнені, чи робити собі ін’єкцію, або у вас є питання, будь ласка, зверніться за консультацією до свого лікаря або медсестри.
Як вводити собі препарат Нівестим?
Препарат Нівестим зазвичай вводять один раз на добу шляхом ін’єкції, як правило, в тканину, яка розташована безпосередньо під шкірою. Цей шлях застосування відомий як підшкірна ін’єкція.
Навчившись робити ін’єкції самостійно, ви не будете змушені чекати вдома, коли прийде медсестра, чи кожен день ходити в лікарню або клініку для отримання ін’єкцій.
Вам потрібно буде робити ін’єкції приблизно в один і той же час щодня.
Найбільш придатними місцями для введення препарату є (див. рис. 1):
· передня поверхня стегон,
· живіт, за винятком ділянки навколо пупка.
 
Рис. 1
Краще міняти місце введення лікарського засобу щоразу при виконанні інʼєкції, щоб уникнути ризику виникнення болісних відчуттів в місці введення.
Обладнання, необхідне для введення
Щоб зробити собі підшкірну ін’єкцію, вам знадобляться:
· Новий попередньо наповнений шприц з препаратом Нівестим.
· Контейнер для утилізації гострих предметів (захищений від проколів) для безпечної утилізації використаних шприців.
· Антисептичні серветки (за рекомендацією лікаря або медсестри).
Як зробити собі підшкірну ін’єкцію препарату Нівестим?
1. Намагайтеся робити самостійні ін’єкції приблизно в один і той же час щодня.
2. Дістаньте упаковку з попередньо наповненим шприцом з препаратом Нівестим з холодильника.
3. Дістаньте блістер з попередньо наповненим шприцом з картонної пачки. Якщо в картонній пачці знаходяться блістери з більш ніж одним попередньо наповненим шприцом, відірвіть блістер, що містить один попередньо наповнений шприц, уздовж перфорованої частини і поверніть інші блістери з попередньо наповненими шприцами в картонну пачку, яку помістіть назад в холодильник.
4. Відкрийте блістер, що містить попередньо наповнений шприц, знявши кришку з блістера. Дістаньте попередньо наповнений шприц з блістера, тримаючи його за корпус (див. рис. 2).
• Не беріться за сірий ковпачок голки або шток поршня.
 
Рис. 2
Перевірте шприц, щоб переконатися, що захисна насадка голки закриває корпус попередньо наповненого шприца (див. рис. 3). Не насувайте захисну насадку голки на ковпачок голки перед ін’єкцією. Це може активувати або заблокувати захисну насадку голки. Якщо захисна насадка закриває голку, це означає, що вона була активована.
Переконайтеся, що розчин прозорий, безбарвний і практично не містить видимих часточок. Не оглядайте препарат через пластик запобіжного пристрою.
Перевірте дату на етикетці шприца, щоб переконатися, що термін придатності препарату не закінчився. Переконайтеся, що поряд з вами є контейнер для утилізації гострих предметів (захищений від проколів).
Дайте попередньо наповненому шприцу нагрітися до кімнатної температури (приблизно 25 °C). Це займе 15–30 хвилин.
• Не знімайте ковпачок з голки шприца, доки попередньо наповнений шприц не досягне кімнатної температури.
• Не струшуйте шприц.
 
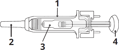
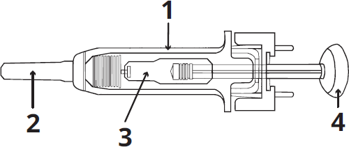
| 1 | Захисна насадка голки | 
| 2 | Ковпачок голки | 
| 3 | Препарат | 
| 4 | Шток поршня | 
Рис. 3
· Не використовуйте шприц із Нівестимом, якщо:
o Картонна пачка відкрита або пошкоджена.
o Захисна насадка голки відсутня, від’єднана або вже активована.
o Препарат каламутний або змінив колір, або містить часточки.
o Будь-яка частина попередньо наповненого шприца тріснула чи зламалася або будь-яка кількість рідини витекла зі шприца.
o Попередньо наповнений шприц упав. Попередньо наповнений шприц може бути зламаний, навіть якщо ви не бачите поломки.
o Ковпачок голки відсутній або прикріплений ненадійно.
o Закінчився термін придатності, вказаний на етикетці.
У всіх наведених вище випадках викиньте попередньо наповнений шприц і використовуйте новий.
5. Знайдіть зручне, добре освітлене робоче місце для проведення ін’єкції і перевірте призначену вам дозу.
6. Ретельно вимийте руки водою з милом.
7. Тримайте попередньо наповнений шприц за корпус захисної насадки голки так, щоб ковпачок голки був спрямований вгору.
· Не тримайте шприц за шток поршня, сам поршень або ковпачок голки.
· Ні в якому разі не тягніть поршень назад.
· Не знімайте ковпачок з голки попередньо наповненого шприца доти, доки ви не будете готові ввести препарат.
8. Зніміть ковпачок з голки шприца: тримаючи шприц за корпус, обережно, не прокручуючи, від’єднайте ковпачок рухом прямо від свого тіла (див. рис.4). Викиньте ковпачок голки. Не одягайте ковпачок на голку повторно. Не натискайте на поршень, не торкайтеся голки і не струшуйте шприц.
 
Рис. 4
9. Тепер шприц готовий до використання. Ви можете помітити невелику бульбашку повітря в шприці. Вам не обов’язково видаляти цю бульбашку повітря перед ін’єкцією. Введення розчину з бульбашкою повітря є нешкідливим.
10. Вирішіть, куди вводити Нівестим: знайдіть місце на передній частині живота або передній поверхні стегна. Кожен раз вибирайте інше місце для введення ін’єкції. Не обирайте ділянку, яка є чутливою, почервонілою, покритою синцями або шрамами. Очистіть ділянку шкіри антисептичною серветкою.
11. Прищипніть пальцями велику ділянку шкіри, обережно, щоб не торкатися очищеної ділянки.
12. Іншою рукою тримайте попередньо наповнений шприц так, як ви тримали б олівець. Швидким рухом, схожим на кидання дротика, введіть голку в шкіру приблизно під кутом 45˚, як показано на рисунку 5 нижче.
 
Рис. 5
13. Злегка потягніть поршень назад, щоб перевірити, чи не з’явилася в шприці кров. Якщо ви бачите кров всередині шприца, витягніть голку і знову введіть її в інше місце. Повільно опускайте поршень вниз доти, доки не буде введено весь вміст шприца.
14. Після введення розчину витягніть голку зі шкіри.
15. Переконайтеся, що захисна насадка закриває голку відповідно до наведених нижче інструкцій щодо активної або пасивної захисної насадки голки.
16. Не намагайтеся замінити ковпачок голки. Помістіть шприц у контейнер для утилізації гострих предметів (захищений від проколів).
· Зберігайте використані шприци в недоступному для дітей місці.
· Ніколи не викидайте використані шприци у побутові відходи.
Пам’ятайте
Більшість людей можуть навчитися робити собі підшкірні ін’єкції, але якщо ви відчуваєте великі труднощі, будь ласка, не бійтеся звернутися за допомогою і порадою до свого лікаря або медсестри.
Використання активної ультрабезпечної захисної насадки голки для препарату Нівестим, розчину для ін’єкцій або інфузій, 12 млн ОД (120 мкг)/0,2 мл
До попередньо наповненого шприца прикріплена активна ультрабезпечна захисна насадка для захисту від травм, спричинених уколом голки. Використовуючи попередньо наповнений шприц, тримайте руки за голкою.
1. Виконуйте ін’єкцію, використовуючи техніку, описану вище.
2. Після завершення ін’єкції посуньте захисну насадку голки вперед доти, доки голка не буде повністю закрита (пристрій «клацне» на місці) (див. рис. 6).
 
Рис. 6
Використання пасивної ультрабезпечної захисної насадки голки для препарату Нівестим, розчину для ін’єкцій або інфузій, 30 млн ОД (300 мкг)/ 0,5 мл, та Нівестим, розчину для ін’єкцій або інфузій, 48 млн ОД (480 мкг)/ 0,5 мл
До попередньо наповненого шприца прикріплена пасивна ультрабезпечна захисна насадка для захисту від травм, спричинених уколом голки. Використовуючи попередньо наповнений шприц, тримайте руки за голкою.
1. Виконуйте ін’єкцію, використовуючи техніку, описану вище.
2. Натискайте на поршень, тримаючись за фланець пальцем, поки не буде введена вся доза (див. рис. 7). Пасивна захисна насадка голки НЕ активується, поки не буде введена ВСЯ доза.
 
Рис. 7
3. Витягніть голку зі шкіри, потім відпустіть поршень, щоб шприц міг рухатися вгору, поки вся голка не буде закрита і не заблокується (рис. 8).
 
Рис. 8
Діти.
Застосування препарату дітям із тяжкою хронічною нейтропенією та онкологічними захворюваннями
У програмі клінічних досліджень тяжкої хронічної нейтропенії 65 % пацієнтів були віком до 18 років. Для цієї вікової групи хворих, що здебільшого включала дітей із вродженою нейтропенією, ефективність лікування була очевидною. Профілі безпеки препарату у дітей із тяжкою хронічною нейтропенією не відрізнялися.
Дані клінічних досліджень застосування філграстиму дітям свідчать, що препарат має однакові показники безпеки та ефективності у дітей і дорослих, які отримують цитотоксичну хіміотерапію.
Рекомендована доза для дітей і дорослих, які отримують мієлосупресивну цитотоксичну хіміотерапію, однакова.
Передозування.
Симптоми передозування філграстиму невідомі.
Через 1‒2 дні після відміни препарату кількість циркулюючих нейтрофілів зазвичай знижується на 50 % , а через 1–7 днів повертається до нормальних показників.
Побічні реакції.
Огляд профілю безпеки
До найбільш серйозних побічних реакцій, які можуть виникнути під час лікування філграстимом, належать: анафілактична реакція, серйозні побічні реакції з боку дихальної системи (у тому числі інтерстиціальна пневмонія та ГРДС), синдром підвищеної проникності капілярів, тяжка спленомегалія/ розрив селезінки, трансформація в лейкоз або мієлодиспластичний синдром у пацієнтів з тяжкою хронічною нейтропенією, реакція «трансплантат проти хазяїна» у пацієнтів з алогенною трансплантацією кісткового мозку або трансплантацією клітин-попередників периферичної крові, а також серпоподібноклітинний криз у пацієнтів із серпоподібноклітинними аномаліями.
Найпоширеніші побічні реакції: пірексія, біль в органах опорно-рухового апарату (у тому числі біль у кістках, спині, артралгія, міалгія, біль у кінцівках, м’язах, грудях, шиї), анемія, блювання та нудота. У клінічних випробуваннях 10 % пацієнтів з онкологічними захворюваннями мали м’язово-скелетний біль легкого або помірного ступеня тяжкості, а 3 % – тяжкий біль.
Огляд побічних реакцій
Нижче наведено побічні реакції, інформацію про які отримано з клінічних досліджень і спонтанних повідомлень.
У межах кожної групи за частотою побічні реакції наведено в порядку зменшення їхньої тяжкості. Такий розподіл демонструє різні профілі небажаних реакцій у представлених групах хворих.
За частотою побічні реакції поділяються на такі категорії: дуже часто (≥ 1/10), часто (від ≥ 1/100 до < 1/10), нечасто (від ≥ 1/1000 до < 1/100), рідко (від ≥ 1/10000 до < 1/1000).
Інфекції та інвазії
Часто: сепсис, бронхіт, інфекції верхніх дихальних шляхів і сечовидільної системи.
Розлади з боку кровоносної та лімфатичної системи
Дуже часто: тромбоцитопенія, анеміяд.
Часто: спленомегаліяa, зниження рівня гемоглобінуд.
Нечасто: лейкоцитозa.
Рідко: розрив селезінкиa, серпоподібноклітинна анемія з кризом.
Розлади з боку імунної системи
Нечасто: гіперчутливість, гіперчутливість до препаратуa, реакція «трансплантат проти хазяїна»б.
Рідко: анафілактична реакція.
Розлади з боку травлення та метаболізму
Часто: зниження апетитуд, підвищення рівня лактатдегідрогенази в крові.
Нечасто: гіперурикемія, підвищення рівня сечової кислоти в крові.
Рідко: зниження рівня глюкози в крові, псевдоподаграa (хондрокальциноз пірофосфату), порушення об’єму рідини.
Розлади з боку психіки
Часто: безсоння.
Розлади з боку нервової системи
Дуже часто: головний більа.
Часто: запаморочення, гіпоестезія, парестезія.
Розлади з боку серцево-судинної системи
Часто: артеріальна гіпертензія, гіпотонія.
Нечасто: венооклюзивна хворобаг.
Рідко: синдром підвищеної проникності капілярівa, аортит.
Розлади з боку дихальної системи, торакальні та медіастинальні розлади
Часто: кровохаркання , задишка, кашельa, орофарингеальний більa,д, носові кровотечі.
Нечасто: гострий респіраторний дистрес-синдромa, дихальна недостатністьa, набряк легеньa, легеневі кровотечі, інтерстиціальні захворювання легеньa, легеневі інфільтратиa, гіпоксія.
Розлади з боку шлунково-кишкового тракту
Дуже часто: діареяa,д, блюванняa,д, нудотаa.
Часто: біль у ротовій порожниніe, запорид.
Розлади з боку гепатобіліарної системи
Часто: гепатомегалія, підвищення рівня лужної фосфатази в крові.
Нечасто: підвищення рівня аспартатамінотрансферази та гамма-глутамілтрансферази.
Розлади з боку шкіри та підшкірних тканин
Дуже часто: алопеціяа.
Часто: висипанняa, еритема.
Нечасто: макуло-папульозне висипання.
Рідко: шкірний васкулітa, синдром Світа (гострий фебрильний нейтрофільний дерматоз).
Розлади з боку кістково-м’язової системи та сполучних тканин
Дуже часто: кістково-м’язовий більв.
Часто: м’язові спазми.
Нечасто: остеопороз.
Рідко: зменшення щільності кісток, загострення ревматоїдного артриту.
Розлади з боку нирок та сечовидільної системи
Часто: дизурія, гематурія.
Нечасто: протеїнурія.
Рідко: гломерулонефрит, патологічні зміни в результатах аналізу сечі.
Загальні розлади та реакції в місці введення ін’єкції
Дуже часто: підвищена втомлюваністьa, запалення слизових оболонокa, пірексія.
Часто: біль у грудяхa, більa, астеніяa, погане самопочуттяд, периферійний набрякд.
Нечасто: реакція в місці ін’єкції.
Травми, отруєння й процедурні ускладнення
Часто: трансфузійна реакціяд.
аДив. «Опис побічних реакцій».
бЗареєстровано випадки реакції «трансплантат проти хазяїна» і летальні випадки в пацієнтів після алогенної трансплантації кісткового мозку (див. «Опис побічних реакцій»).
вВключає біль у кістках, спині, артралгію, міалгію, біль у кінцівках, м’язово-скелетний біль, біль у грудях, шиї.
гВипадки зафіксовано в період післяреєстраційного застосування препарату у пацієнтів, які перенесли трансплантацію кісткового мозку або мобілізацію периферичних клітин-попередників крові.
дПобічні реакції з більшою частотою в пацієнтів, які отримували філграстим, порівняно з групою плацебо та пов’язані з наслідками наявного онкологічного захворювання або лікування цитотоксичною хіміотерапією.
Опис побічних реакцій
Гіперчутливість
Відмічалися реакції гіперчутливості, включаючи анафілаксію, висипання, кропив’янку, ангіоневротичний набряк, задишку та гіпотензію, які розвивалися на початку або після терапії впродовж клінічних досліджень та в післяреєстраційний період застосування препарату. У більшості випадків такі реакції виникали після внутрішньовенного введення препарату. Іноді симптоми реакцій поверталися після повторного призначення препарату, що свідчить про наявність причинно-наслідного зв’язку. У разі виникнення серйозних алергічних реакцій застосування філграстиму слід повністю припинити.
Побічні реакції з боку дихальної системи
Упродовж клінічних досліджень та в післяреєстраційний період застосування препарату спостерігалися небажані явища з боку легень, включаючи інтерстиціальні захворювання легень, набряк і легеневі інфільтрати. У деяких випадках ці ускладнення призводили до дихальної недостатності або гострого респіраторного дистрес-синдрому (ГРДС), які можуть мати летальний наслідок (див. розділ «Особливості застосування»).
Спленомегалія та розрив селезінки
Після введення філграстиму спостерігалися випадки спленомегалії та розриву селезінки. Деякі випадки розриву селезінки були смертельними (див. розділ «Особливості застосування»).
Синдром підвищеної проникності капілярів
Випадки синдрому підвищеної проникності капілярів зафіксовано в пацієнтів після застосування Г-КСФ. Ці випадки загалом виникали в пацієнтів з онкологічними захворюваннями, сепсисом, під час хіміотерапії або аферезу (див. розділ «Особливості застосування»).
Шкірний васкуліт
Надходили повідомлення про випадки шкірного васкуліту у пацієнтів, які отримували філграстим. Механізм розвитку васкуліту в таких пацієнтів невідомий. Під час тривалого лікування шкірний васкуліт зареєстровано в 2 % пацієнтів із вродженою нейтропенією.
Лейкоцитоз
Лейкоцитоз (кількість лейкоцитів (білі клітини крові) > 50 × 109/л) спостерігався в 41 % здорових донорів, а транзиторна тромбоцитопенія (кількість тромбоцитів < 100 × 109/л) після отримання філграстиму та лейкаферезу — у 35 % донорів (див. розділ «Особливості застосування»).
Синдром Світа
У пацієнтів, які отримували філграстим, зареєстровано випадки синдрому Світа (гострий фебрильний нейтрофільний дерматоз).
Псевдоподагра
У пацієнтів з онкологічними захворюваннями повідомлялось про псевдоподагру (хондрокальциноз пірофосфату).
Реакція «трансплантат проти хазяїна»
Повідомлялося про розвиток реакції «трансплантат проти хазяїна» з летальним наслідком у хворих, які отримували Г-КСФ після алогенної трансплантації кісткового мозку (див. розділи «Особливості застосування» і «Фармакодинаміка»).
Діти
Дані клінічних досліджень застосування філграстиму дітям свідчать, що препарат демонструє однакові показники безпеки та ефективності у дітей і дорослих, які отримують цитотоксичну хіміотерапію, що вказує на відсутність вікових особливостей фармакокінетики філграстиму. Єдиною поширеною побічною реакцією у дітей був м’язово-скелетний біль, який не відрізнявся за проявами від такого у дорослих.
Наразі існує недостатня кількість даних для подальшої оцінки застосування філграстиму дітям.
Інші особливі популяції
Літні пацієнти.
Відмінностей у безпеці та ефективності філграстиму в осіб віком понад 65 років порівняно з молодшими дорослими (віком від 18 років), які отримували цитотоксичну хіміотерапію, не виявлено; клінічна практика не виявила відмінностей у терапевтичній відповіді в цих двох вікових групах. Наразі існує недостатньо даних для оцінки застосування філграстиму пацієнтам літнього віку за іншими затвердженими показаннями.
Діти з вродженою нейтропенією
У пацієнтів дитячого віку з тяжкою хронічною нейтропенією, які отримували філграстим протягом тривалого часу, зафіксовано випадки зменшення мінеральної щільності кісткової тканини та остеопорозу.
Повідомлення про підозрювані побічні реакції
Після реєстрації лікарського засобу дуже важливо повідомляти про підозрювані побічні реакції. Це дає змогу проводити безперервний моніторинг співвідношення користі і ризиків, пов’язаних із застосуванням цього лікарського засобу. Лікарям слід звітувати про будь-які підозрювані побічні реакції відповідно до вимог законодавства.
Термін придатності. 30 місяців.
Умови зберігання.
Зберігати в оригінальній упаковці при температурі 2‒8 °C в захищеному від світла місці.
Не заморожувати.
Зберігати у недоступному для дітей місці.
Випадкове заморожування тривалістю не більше 24 годин не впливає на стабільність препарату Нівестим. У такому випадку шприци можна розморозити, а потім зберігати в холодильнику для їх подальшого застосування. Якщо заморожування тривало понад 24 години або шприци заморожували більше одного разу, препарат Нівестим застосовувати НЕ слід.
З метою його амбулаторного застосування пацієнт може вилучити препарат з холодильника і зберігати його при кімнатній температурі (не вище 25 °C) впродовж одного періоду тривалістю до 15 днів у межах терміну придатності препарату. Препарат не слід повертати до холодильника у кінці цього періоду, його слід утилізувати.
Несумісність.
Нівестим не слід розводити розчинами натрію хлориду.
Скло та пластик можуть поглинати розведений філграстим. Цього не відбувається при розведенні препарату у 5 % розчині глюкози.
Лікарський засіб не можна змішувати з іншими препаратами, за винятком зазначених у розділі «Спосіб застосування та дози».
Упаковка.
Для дозування по 12 млн ОД (120 мкг)/ 0,2 мл: по 0,2 мл у прозорому скляному шприці (І класу). По 1 шприцу об’ємом 1 мл у блістері в картонній пачці.
Для дозування по 30 млн ОД (300 мкг)/0,5 мл та 48 млн ОД (480 мкг)/0,5 мл: по 0,5 мл у прозорому скляному шприці (І класу). По 1 або 5 попередньо наповнених шприців об’ємом 1 мл у блістері в картонній пачці.
Категорія відпуску. За рецептом.
Виробник.
Хоспіра Загреб д.о.о.
Місцезнаходження виробника та адреса місця провадження його діяльності.
Прудніцке шосе 60, 10291 Пригір’є Брдовечко, Хорватія.